Перейти к материалам
шапито

Apple решила запатентовать бумажный пакет

Источник: Meduza

Корпорация Apple подала в ведомство по патентам и товарным знакам США заявку на патент, описывающий бумажный пакет. Заявку, отправленную еще в марте, ведомство опубликовало в середине сентября.

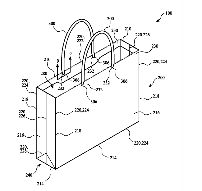
Патент подан на «бумажный контейнер из белой бумаги, которая как минимум на 60 процентов состоит из переработанных материалов», а также на разные уточненные модели, представляющие собой все тот же бумажный пакет.

United States Patent and Trademark Office

The Next Web отмечает, что над пакетом работали дизайнеры, которые придумали зарядки, присоединяющиеся к устройствам Apple с помощью магнита, и компоненты обуви Nike. Издание считает, что Apple пытается запатентовать не обычный бумажный пакет, а собственную, улучшенную версию.

Так, в одном из пунктов заявки указано, что в пакет могут вставляться усиливающие вставки, которые позволят компенсировать сниженную прочность переработанной бумаги. В другом корпорация пишет, что ручки, используемые в существующих пакетах, слишком жесткие. Изобретатели предлагают решить эту проблему с помощью ручек, сделанных из бумажных волокон, — они должны ощущаться мягкими, как тканевые шнурки.

Получит ли Apple патент на пакет, пока неизвестно. Но компания еще в апреле заменила в своих магазинах пластиковые пакеты на бумажные.